zaprasza Cię do wspólnej nauki fiszek
Teksty dostarczyło Wydawnictwo GREG. © Copyright by Wydawnictwo GREG
Autorzy opracowań: B. Wojnar, B. Włodarczyk, A Sabak, D. Stopka, A Szostak, D. Pietrzyk, A. Popławska, E. Seweryn, M. Zagnińska, J. Paciorek, E. Lis, M. D. Wyrwińska, A Jaszczuk, A Barszcz, A. Żmuda, K. Stypinska, A Radek, J. Fuerst, C. Hadam, I. Kubowia-Bień, M. Dubiel, J. Pabian, M. Lewcun, B. Matoga, A. Nawrot, S. Jaszczuk, A Krzyżek, J. Zastawny, K. Surówka, E. Nowak, P. Czerwiński, G. Matachowska, B. Więsek, Z. Daszczyńska, R. Całka
Zgodnie z regulaminem serwisu www.opracowania.pl, rozpowszechnianie niniejszego materiału w wersji oryginalnej albo w postaci opracowania, utrwalanie lub kopiowanie materiału w celu rozpowszechnienia w szczególności zamieszczanie na innym serwerze, przekazywanie drogą elektroniczną i wykorzystywanie materiału w inny sposób niż dla celów własnej edukacji bez zgody autora jest niedozwolone.
Prawidłowa regulacja i koordynacja procesów życiowych opiera się na działaniu układu nerwowego i hormonalnego. Układ nerwowy działa w sytuacjach wymagających szybkiej, lecz krótkotrwałej reakcji organizmu na zmianę środowiska. Układ hormonalny działa wolniej i steruje procesami długotrwałymi, jak wzrost czy dojrzewanie płciowe, lub stale zachodzącymi w organizmie, np. przemiana materii, gospodarka wodno-mineralna.
Utrzymanie homeostazy w organizmie wymaga ścisłej współpracy obydwu układów. Tworzą one funkcjonalną całość, połączoną anatomicznie za pomocą podwzgórza.
Podwzgórze integruje pracę układu nerwowego i hormonalnego - jest częścią mózgu i jednocześnie nadrzędnym gruczołem dokrewnym.
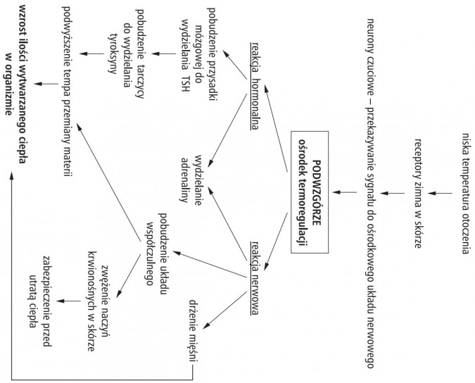
Przykładem utrzymywania homeostazy dzięki współdziałaniu obydwu układów jest termoregulacja:

Porównanie działania układu nerwowego i hormonalnego
| Układ nerwowy | Układ hormonalny | |
|---|---|---|
| funkcja | odbieranie i reagowanie na bodźce zewnętrzne i wewnętrzne | regulacja procesów wewnątrz organizmu |
| droga przekazu informacji | neurony | krew |
| rodzaj sygnału | impuls nerwowy - sygnał elektryczny | hormon - sygnał chemiczny |
| szybkość reakcji | reakcja szybka | reakcja powolna |
| czas trwania reakcji | reakcja krótkotrwała | reakcja długotrwała |
Pogłębiaj wiedzę w temacie: Regulacja nerwowo-hormonalna - Współdziałanie układu nerwowego i hormonalnego
Teksty dostarczyło Wydawnictwo GREG. © Copyright by Wydawnictwo GREG
Autorzy opracowań: B. Wojnar, B. Włodarczyk, A Sabak, D. Stopka, A Szostak, D. Pietrzyk, A. Popławska, E. Seweryn, M. Zagnińska, J. Paciorek, E. Lis, M. D. Wyrwińska, A Jaszczuk, A Barszcz, A. Żmuda, K. Stypinska, A Radek, J. Fuerst, C. Hadam, I. Kubowia-Bień, M. Dubiel, J. Pabian, M. Lewcun, B. Matoga, A. Nawrot, S. Jaszczuk, A Krzyżek, J. Zastawny, K. Surówka, E. Nowak, P. Czerwiński, G. Matachowska, B. Więsek, Z. Daszczyńska, R. Całka
Zgodnie z regulaminem serwisu www.opracowania.pl, rozpowszechnianie niniejszego materiału w wersji oryginalnej albo w postaci opracowania, utrwalanie lub kopiowanie materiału w celu rozpowszechnienia w szczególności zamieszczanie na innym serwerze, przekazywanie drogą elektroniczną i wykorzystywanie materiału w inny sposób niż dla celów własnej edukacji bez zgody autora jest niedozwolone.